3.0 mercruiser engine diagram

MerCruiser Race Engine & Drive 500 EFI Distributor & Ignition. 10 Pics about MerCruiser Race Engine & Drive 500 EFI Distributor & Ignition : 4.3 liter V6 engine Diagram - 4, [DIAGRAM] Mercruiser 3 0 Engine Diagram FULL Version HD Quality Engine and also MerCruiser Race Engine & Drive 500 EFI Distributor & Ignition.

MerCruiser Race Engine & Drive 500 EFI Distributor & Ignition

MerCruiser Race Engine & Drive 500 EFI Distributor & Ignition www.marineengine.com

efi mercruiser engine parts loss power section ignition distributor components backfiring mercury race drive equivalent aftermarket listed oem example each

Starting A Mercruiser When Your Solenoid Has Failed - YouTube

Starting a Mercruiser when your solenoid has failed - YouTube www.youtube.com

mercruiser solenoid starting

4.3 Liter V6 Engine Diagram - 4

4.3 liter V6 engine Diagram - 4 natobilly.com

lv3 ecotec3 gm

MerCruiser Race Engine & Drive 525 EFI Electrical Components (Ignition

MerCruiser Race Engine & Drive 525 EFI Electrical Components (Ignition www.marineengine.com

diagram mercury wiring efi mercruiser ecm parts racing marine fuel engine ignition electrical components race drive aftermarket equivalent listed oem

Gimbal Housing For Mercruiser (Bravo I / Ii / Iii Sterndrive & Transom

Gimbal Housing for Mercruiser (Bravo I / Ii / Iii Sterndrive & Transom www.marineengine.com

bravo mercruiser parts gimbal housing sterndrive transom diagram assembly iii engine mercury drawing ii marine section list thru numbers oem

Distributor & Coil For Mercruiser (165 HP - 3.7l / 170 HP / 180 HP -3.7

Distributor & Coil for Mercruiser (165 HP - 3.7l / 170 HP / 180 HP -3.7 www.marineengine.com

mercruiser 165 distributor engine parts coil diagram hp 7l mercury order lx 1989 marine 1988 numbers reference found scroll below

[DIAGRAM] Mercruiser 3 0 Engine Diagram FULL Version HD Quality Engine

[DIAGRAM] Mercruiser 3 0 Engine Diagram FULL Version HD Quality Engine diagramdb.com

mazda diagram engine wiring 2004 step knock sensor v6 2006 2005 mercruiser replacing instructions need parts replacement 2007 raw sprayed

3.0L MerCruiser Complete Engine Package - INBOARD & V-DRIVE | EBay

3.0L MerCruiser Complete Engine Package - INBOARD & V-DRIVE | eBay www.ebay.com

mercruiser 0l inboard package complete engine drive bidding luck happy

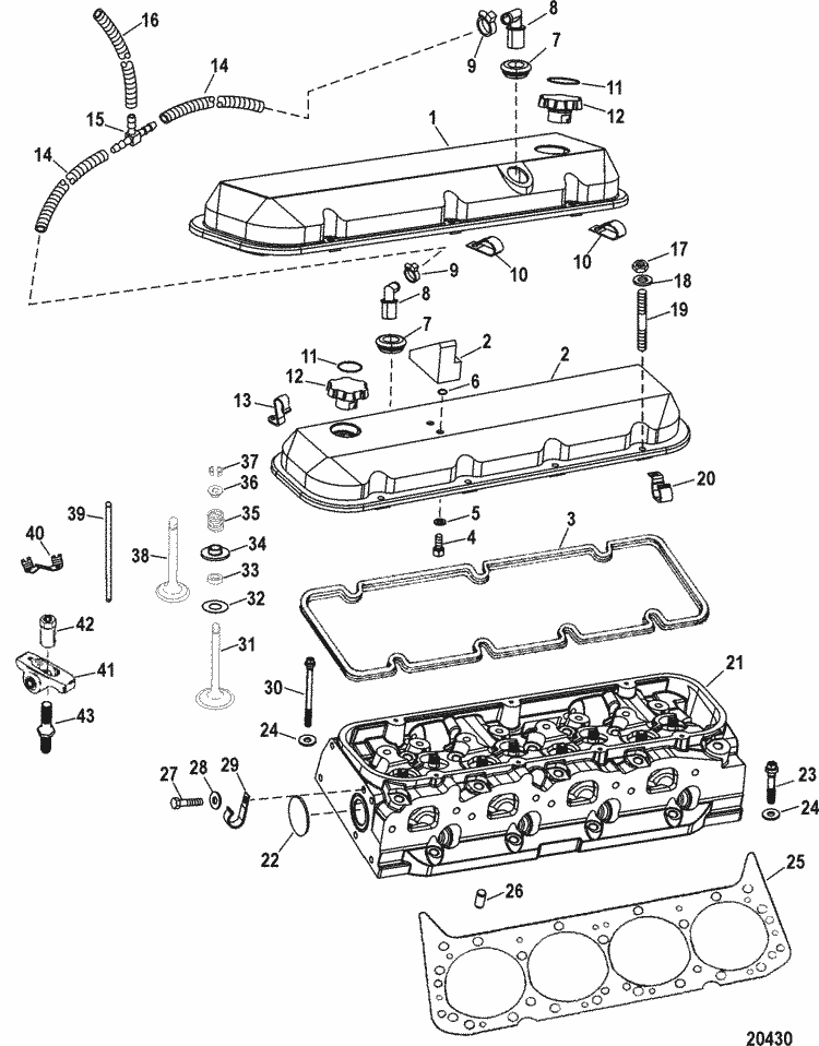
MerCruiser Race Engine & Drive 525 EFI Engine Components (Cylinder Head

MerCruiser Race Engine & Drive 525 EFI Engine Components (Cylinder Head www.marineengine.com

engine parts efi mercruiser cylinder components head race drive aftermarket equivalent listed oem example each

I Have An 03 Mercruiser 4.3 190hp In My Boat. I Have A Problem With No

I have an 03 Mercruiser 4.3 190hp in my boat. I have a problem with no www.justanswer.com

mercruiser distributor boat 190hp justanswer spark 2009 sensor hey guys

Diagram mercury wiring efi mercruiser ecm parts racing marine fuel engine ignition electrical components race drive aftermarket equivalent listed oem. Mazda diagram engine wiring 2004 step knock sensor v6 2006 2005 mercruiser replacing instructions need parts replacement 2007 raw sprayed. Mercruiser distributor boat 190hp justanswer spark 2009 sensor hey guys